¿Qué son las fachadas ventiladas?
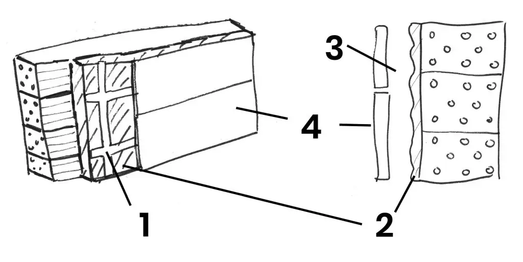
Se conoce como fachada ventilada frente a la fachada tradicional al sistema de cerramiento de edificios, en nuestro interés, de obra nueva para viviendas que se compone de los siguientes elementos:
- Fijaciones sobre la estructura del edificio para el anclaje de un revestimiento.
- Capa de aislante térmico.
- Cámara de aire o espacio entre aislante y revestimiento.
- Revestimiento exterior.



El uso de fachadas ventiladas se está extendiendo en España frente a la fachada tradicional por su buen rendimiento y efectividad.
¿Promueven el ahorro energético?
Las fachadas ventiladas mejoran la eficiencia energética, tienen aperturas en la parte superior y en la parte inferior de la estructura para permitir la circulación constante de aire a través de la cámara de aire. Estas aperturas se protegen para evitar la entrada de agua y que el agua no disminuya la eficacia del aislante.
En verano el aire caliente sube por la cámara renovándose y manteniendo así la cámara de aire más fría, y, de otra manera, en invierno el aire no asciende al no tener tanta temperatura y se retiene el calor proveniente del interior de la construcción en la propia cámara desde el material aislante.
Este efecto que se produce en la cámara de aire del edificio, debido a las diferencias de temperatura, es un fenómeno natural conocido como «efecto chimenea” y por eso mejoran sí y mucho la eficiencia energética de los edificios y por tanto de las viviendas.
¿Qué otras ventajas adicionales tienen las fachadas ventiladas?
- Atenuación del ruido exterior al interior del edificio, es decir, el aislamiento acústico.
- Eliminación de la humedad y la condensación de la lluvia pues, gracias a la circulación continua del aire dentro de la cámara de aire promueve la protección frente a posibles humedades.
- Reducción de los movimientos estructurales de la edificación, ya que al no producirse cambios bruscos de temperatura gracias a la cámara de aire, ayuda a evitar la aparición de grietas o fisuras propias de los movimientos de dilatación y/o contracción de las estructuras de los edificios.


